ChipFind - документация

Электронный компонент: OL2013

Скачать:  PDF   ZIP
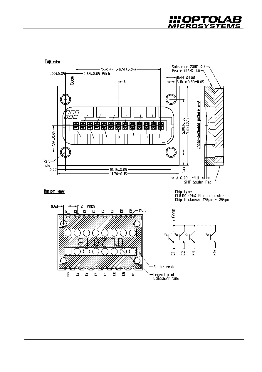
OL2013
13 Element SMD Phototransistor Array
OPTOLAB Microsystems GmbH, Haarbergstr. 61, 99097 Erfurt / Germany, Tel.: ++49-361-422 906-0, Fax ++49-361-422 906 50
We reserve the right to make technical changes at any time without prior notice.
More detailed technical information can be supplied upon request.
Features
High speed phototransistor OL8110 chips
Reference holes for precise mounting
Compact size and low cost
Also available with mounted reticle
Custom design available
Single chip placement for high speed applications
Application
Optical Encoders (absolut, incremental, multi turn)
Edge detection for paper
Multi Element Sensor Array
Absolute Maximum Ratings
Storage and Operating Temperature
-35 to +85 C (*)
Solder Temperature (Vapor Phase
Reflow for 30 sec)
235 C
(*) Military Temperature range available on request
Electrical Specifications
(T
A
= 25C)
Parameters 100% tested at waferprobe
Parameter
Units
Min
Typ
Max
I
CE0
@ 52.0 V
A
0.1
100.0
I
DARK
@ 32.0 V
nA
1.0
100.0
I
EC0
@ 7.7 V
A
0.1
100.0
V
CE
st (I
C
= 2.0 mA, I
B
= 22.2 A)
mV
290.0
400.0
HFE (I
C
= 2.0 mA, V
CE
= 5.0 V)
500.0
750.0
1000.0
Additional Parameters tested for qualification and on a lot sample basis
Rise time: 10.0 s (V
CC
= 5.0 V, R
L
= 1.2 k
, C
L
= 8.0 pF, V
E
(peak) = 1.0 V)
Fall time: 13.0 s (V
CC
= 5.0 V, R
L
= 1.2 k
,
C
L
= 8.0 pF, V
E
(peak) = 1.0 V)
Responsitivity
peak
wavelength:
880
nm
Note
Please see part ET8001, precision schmitt trigger and comparator array with hysteresis tracking function for use with this
phototransistor array.
OL2013
13 Element SMD Phototransistor Array
OPTOLAB Microsystems GmbH, Haarbergstr. 61, 99097 Erfurt / Germany, Tel.: ++49-361-422 906-0, Fax ++49-361-422 906 50
We reserve the right to make technical changes at any time without prior notice.
More detailed technical information can be supplied upon request.